BEAT365英国官网第五周在线教学典型案例之一——《计算机网络》《软件项目管理》课程线上教学
刘爱芹(信息科学与工程学院)
根据省教育厅和学校关于新冠肺炎疫情防控期间教学工作的部署和要求,把“停课不停教、停课不停学”的要求落到实处,BEAT365官网已于2月24日正式线上开课,目前已运行五周。信息科学与工程学院的全体教师都以饱满的工作热情投入到新的教学模式中,并在教学实施的同时不断总结经验,优化教学手段,完善教学模式,加强教学保障,跟进教学反馈,以学生满意度及学习效果为根本出发点。目前,线上教学取得初步成果。
我院刘爱芹老师本学期讲授了《计算机网络》和《软件项目管理》两门课程。其中《计算机网络》,是一门重要的专业基础课,课程特点是概念术语多,原理抽象、课程内容及其丰富。而《软件项目管理》又是为学生进行软件项目过程实操的专业课程,涉及了大量的实操知识。为了让学生尽快适应新的教学模式,夯实课程的基本功,对课程内容学已所用。刘爱芹老师在五周的线上教学中,有意识、有目的、综合性地思考教学目标、教学途径、教学检测,通过P(Plan)计划、D(Do)执行、C(Check)检查、A(Act)行动的“闭环教学模式”思路。
一、课程组织
1.在线教学资源和平台的选择
刘爱芹老师采用“线上MOOC”+“直播串讲答疑”的教学模式。
为解决在线教学资源和平台问题,BEAT365英国官网教务处从2月初就积极协调二级学院制定线上教学计划,选择多家平台(超星、智慧树和中国大学MOOC平台等),开放上千门课程资源供教师选择,并分批组织平台技术人员对教师进行线上教学培训。通过对三大平台上线课程和教学管理模式的对比,最终选择中国大学MOOC平台(见图1)的课程作为线上教学资源。

图1 中国大学MOOC课程管理
MOOC平台的在线学习,其优势在于优质教学资源可以不受区域的限制被充分共享,促进学生的全面学习、终身学习。学生可以根据自己的理解程度,有针对性的反复观看某些知识点或跳过已掌握知识点,实现学习时间及听课内容的自我控制。同时,基于大数据的学习分析技术能及时促进教师完善和改进教学内容,帮助学员自我调整学习计划和学习方法。
但是,教学过程应突出“教”与“学”的互动,MOOC平台的在线学习缺乏传统课堂中欢快的、互相感染、及时互动的氛围,特别是学生随时出现的疑难问题得不到解决。因此,刘爱芹老师选择了“QQ群课堂”(见图2、图3)直播的方式,对每个章节的内容进行串讲,并通过直播连线的方式,与学生活动,对存在的问题进行答疑。

图2 QQ群课堂直播页面

图3QQ群课堂连线学生进行问题答疑
2.教学资料的准备
教学资料是保证学生开展学习的必备条件,良好的线上教学效果离不开丰富、全面的教学资料。由于疫情突如其来,部分学生手中没有教材,为了不影响学习效果,除去MOOC平台提供的资源外,刘老师还为学生准备了多种形式的电子教材比如PDF文档、PPT、视频、练习题等多样式,为学生的充分学习提供保障(见图4)。

图4课程教学教学资料
3.学生的组织管理
对学生进行了分组管理,每个小组设置一个组长。通过分组讨论,学生可以相互交流,更好地掌握所学知识。分组讨论反馈的问题,一般具有普遍性,教师和学生可以有更多的时间对所学知识进行深入思考。在线授课,没有“答错”或“答不出来”的尴尬。
QQ群是师生沟通交流的主要工具,对每个班都建立了QQ群里。课程的共享文件、通知、作业以及问题反馈等都使用QQ群完成。上课前10分钟在QQ班级群提醒同学们即将开始上课,并开启微信小程序“慕课堂(中国大学MOOC课堂辅助小程序)”组织签到,根据学生的发反馈进行下一指令的执行。

图5学生的组织管理方式
二、在线学习
在线学习是整个线上教学模式的中心,是学生获得新知的重要途径。中国大学MOOC平台给学生提供了优质的课程视频学习资源(见图6,图7、图8、图9),帮助学生构建起完整的知识体系。

图6学生通过QQ群直播学习 图7学生通过MOOC学习

图8通过手机进行在线学习 图9边学边记录
三、课后评价
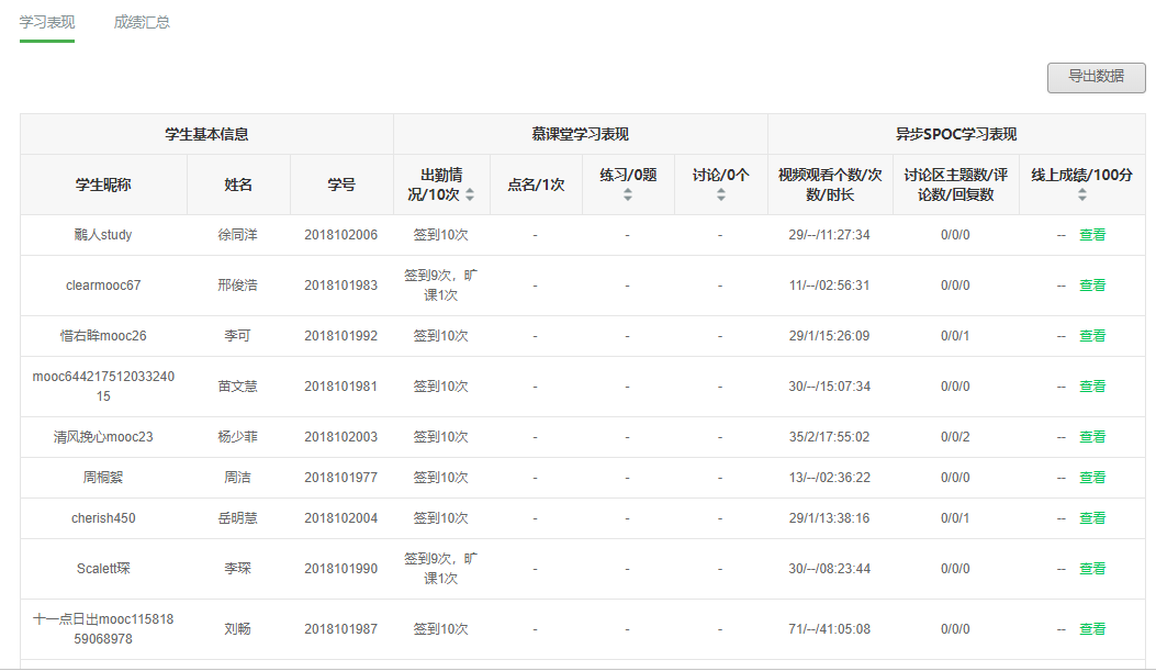
对学生进行学习评价是教学过程的重要环节,线上教学也不例外。考虑这种学习方式的特殊性,学习评价分为课堂同步学习评价及课后学习效果评价。课堂同步学习评价主要考虑学生的签到情况——有误迟到早退旷课现象以及在线学习时长数据(如图10),确保学生按教学进度完成每一次课的学习任务。

图10课堂同步学习评价(在线学习情况统计)
课后评价主要是课后作业的完成情况。每节课老师都会布置相应的作业,学生需在指定的时间内完成并上交,由教师做出评价。

图10作业布置情况

图11 作业提交情况

图12 作业批改
四、教学过程管控
刘爱芹老师本学期教授2门课程,3个班级。在教学过程中采用了项目管理的思路,进行了科学的规划。

1、启动过程组:
在收到通知需要进行线上授课时,按照学校的相关要求以及本学期所要讲授的课程和授课班级,立即进入到了“战备”状态,装备相关资料,确保授课过程的顺利进行,并保证上课质量。
2、规划过程组
根据本学期讲授的课程,2门课程,3个班级,按照课表,进行了规划整理。
以课程为根本,划分一级目录,然后根据班级进行二级目录的划分,在此级目录中,又对学生实行了分组管理,最后根据课表进行三级目录的划分,从最小颗粒度记录了上课过程。

图13 教学过程记录规划
3、执行过程组
在每次课程,都会记录过程文档。包括上课记录,作业提交情况、作业批改记录以及学生学习过程照片(作业或照片会根据当节课的课程内容进行调整)。以《计算机网络》课程为例,见图14、图15。
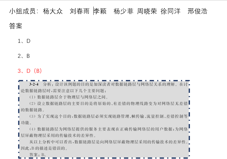
对于每组提交的作业都会进行批改,对于做题,添加解析意见,有助于学生加深对知识点的掌握。(见图16)

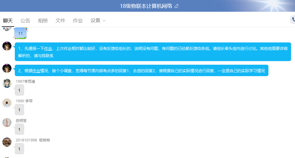
图14 通过QQ群布置作业

图15 学生提交作业情况

图16对20200314布置的作业进行批改
4、监控过程组
作为老师,学生的学习结果是至关重要的。由于特殊时期,线上教学也是首次启用,效果不好评估。因此在教学过程中,会定期通过QQ群与学生进行沟通,进行调整。


5、收尾过程组
目前线上教仍在继续,还未到收尾的时候,但是会在每节课有收尾活动。以批改完作业并答疑完成为结点。
五、课程改进
窗体顶端
窗体底端
截至目前,线上教学模式开展了五周的时间,学生反映良好。虽然有后台数据的支撑,能够实现可监督可反馈,但是仍然有不足之处,不能确保每位同学都能认真的完成学习任务。下一步,根据相关学习数据统计,进一步开展学情分析,为学生提供差异化、个性化的学习辅导方案,同时,动态调整教学内容,不赶进度,注重效果。确保“停课不停学”在疫情防控期间顺利开展。具体改进如下:
1.对特殊学生教学管理的改进
刘爱芹老师所教授的班级,都具备良好的线上学习条件。但是仍旧有少数同学学习基础较弱,对网络学习方式不适应。对于这部分学生择机增加一对一辅导,以提高在线教学的针对性和实效性为标准。
2.对教学内容和教学方式进行改进
随着课程内容的深入,课程难度越来越多。在线上教学的过程中,以基础知识的讲解为主,对于难点问题引导为主,不过分要求。但对于学习能力较强或对难点感兴趣的同学,单独进行辅导。这样既可以保证大部分学生在线学习的积极性,又能兼顾不同学生的个性化学习,二者有机结合,切实提高混合式教学模式的教学效果。
仍旧保持定期跟学生进行沟通交流,根据学生反馈的情况,对内容和方式进行调整。
(编辑:李楠、李莉 编审:辛源)
